Dixon Bayco / 2182 High Flow Series 2 inch Air Relief Valves

Vendor: Dixon Bayco
Valve Type(s):
Miscellaneous Valves and Accessories
Valve Description:
Valve Category:
Dry Bulk Products
Valve Subcategory
Models 2182 and A2182
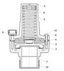
Bill of Materials | ||
Item # | Description | Qty |
1 | Vent cowl | 1 |
2 | Top body | 1 |
3 | Valve seat | 1 |
4 | Diaphragm | 1 |
5 | Spring | 1 |
6 | Lock washer | 4 |
7 | Valve plate | 1 |
8 | Spacer | - |
9 | Cup seal | 1 |
10 | Cap | 1 |
11 | Body bolt | 4 |
Repair Kits | ||
Part # | Description | includes item #s |
2182RK-15 | 2182-15 repair kit, 15 PSI spring ( 2/-0 PSI tolerance), spring seat, diaphragm, valve plate, bolts, lockwashers, tamper proof seal, & valve label | 3, 4, 5, 6, 7, 9, 11 |
2182RK-15A | A2182-15 repair kit, 15 PSI spring ( 1/-1 PSI tolerance), spring seat, diaphragm, valve plate, bolts, lockwashers, tamper proof seal, & valve label | 3, 4, 5, 6, 7, 9, 11 |
2182RK-18 | 2182-18 repair kit, 18 PSI spring ( 2/-0 PSI tolerance), spring seat, diaphragm, valve plate, bolts, lockwashers, tamper proof seal, & valve label | 3, 4, 5, 6, 7, 9, 11 |
2182RK-18A | A2182-18 repair kit, 18 PSI spring ( 1/-1 PSI tolerance), spring seat, diaphragm, valve plate, bolts, lockwashers, tamper proof seal, & valve label | 3, 4, 5, 6, 7, 9, 11 |
Repair kits fit the "2182 series" relief valves with female NPT, male
NPT, vic groove, and cam & groove adapter ends.
![]() |
WARNING: Cancer and Reproductive Harm - www.P65Warnings.ca.gov |